資料下載
概述
管力閥是我公司工程技術人員參照國內外同類型的先進產品進行設計,在吸收微阻緩閉止回閥、液控止回蝶閥、多功能水泵控制閥的基礎上研制而成,是水泵控制閥的換代新產品。它兼具電動閘閥、電動蝶閥以及止回閥的功能,并通過快關和緩閉的動作來消除水錘危害,保護水泵及管網系統安全。該閥是結構新穎、性能先進、運行可靠的泵站新型控制設備,廣泛應用于電力、環保、冶金、石油、石化、化工、水利、市政、食品等行業供、排水系統、污水泵房、化工流體等輸送系統。
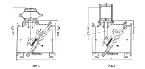
工作原理

開閥
當水泵啟動后,進口端的水經過控制管系統12的過濾器、截止閥、高壓管、進入膜片10腔或活塞10缸的下部,在水的壓力下推動膜片或活塞上行帶動小閥板3緩慢開啟,大閥板4在水力的推動下與小閥板3同時開啟,完成開閥。開閥速度可根據工況要求,調節控制管系統的截止閥以達到不錯的效果。
關閥
停泵時閥內流速急劇降低,閥門進口端介質失壓,大閥板4在重力的作用下自動關閉,截止了70~80%的水流,同時一部分回流水進入出口端的控制管系統的過濾器、截止閥、高壓管、進入膜片10腔或活塞10缸的上部,推動膜片或活塞下行帶動小閥板3緩慢關閉,最終實現關閉。關閥時間可通過調節控制管系統的截止閥來實現,使水錘峰值控制在規定范圍內。
①普通型管力閥,適用于管網系統回水壓力大于0.1MPa的工況;
②調節型管力閥,在普通型基礎上,通過在控制部分安裝調節裝置,以達到對管網內介質流量的調節與控制。可以根據用戶要求采用手動或電動來調節開度。
③污水型管力閥,適用于不含纖維成份的污水系統。外控組件中的過濾器能有效過濾污水中的雜質顆粒,保證進入膜片腔或活塞缸內介質為清潔液體,以使外控組件正常工作。污水過濾器需定期清洗,以保證過濾網的清潔。
④回水低壓型管力閥,適用于管網系統回水壓力小于0.1MPa的工況。配有平衡錘,做為輔助關閉閥門機構。
⑤普通型采用膜片式結構,污水型推薦使用膜片結構;調節型及PN25以上推薦采用活塞式結構。
主要特點
1、功能多樣:具有截止、止回、消除水錘等功能,一閥頂多閥,節省設備總投資。
2、外形美觀:采用控制裝置頂置的創新型結構,外形空間小,內部結構簡單,運行可靠性強。
3、維護方便:閥門的啟閉由輸送的介質驅動,與水泵自動聯鎖,無需人員與外力去操作,十分方便。
4、緩開啟泵:啟泵后該閥進口壓力要達到預定值后,閥門才開啟,可減小啟泵電流,確保電機和電控系統安全。
5、停泵時先快關后緩閉,有效消除水錘,保證系統安全。
6、啟閉件為斜置蝶板式,水流平順,壓力損失與局部損失很小。
7、密封可靠、零泄漏:采用軟硬雙重密封結構或金屬硬密封結構,密封副摩擦力矩小;斜置偏心結構密封副,縮短了關閥行程,減少了密封圈滑移距離,降低了摩擦力矩,達到了瞬間離合的效果,并且具有防泥沙和壓力自動補償的功能。
8、維護簡單:無外接動力和元器件,故障點少,液壓缸內的零部件檢修可在機組正常工作的同時進行。關鍵零件均選用優質材料,基本無需維護,外控管道中過濾器具有自沖洗功能。
9、采用蝶式結構,具有體積小、重量輕的特點,占地空間小,降低土建成本。取消了液控止回蝶閥的電液控制系統,降低成本而又增加了可靠性和穩定性,減小耗電達到節能的目的。
主要外形尺寸
